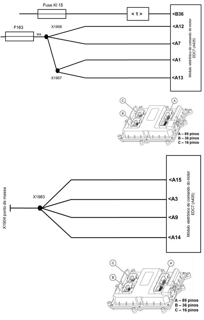
|
Descrição da Falha
Tentativa de religar o veículo antes da desativação do módulo EDC7, sinal não plausível.
Indicação de Falha
Luz de alerta acende constantemente em vermelho com símbolo e ativa o alarme sonoro curto, com o veículo andando ou parado.
A LIM permanece desligada.
Estratégia de Monitoramento
O módulo EDC7 monitora a desativação, antes de efetuar uma nova tentativa de ligar o veículo.
Efeito da Falha
Esta falha ocorre, se for dada
novamente a partida no período de correção durante a fase de
desligamento do motor. Do contrário, esta falha não tem efeito.
Possíveis Falhas
FMI 3: Sinal não plausível.
Aviso
 Não há
aviso específico para este código.
Registros de Falhas em Outros
Módulos de Comando
Não.
|